防止熱灼傷的高頻電刀設計要求
為了防止非預期的熱灼傷,患者電路啟動時從手術電極和中性電極測試的高頻漏電流,根據其設計,應符合下列要求:
a)* 高頻漏電流
1) 中性電極以地為基準
患者電路對地絕緣,但中性電極利用一些元件(如電容)使其在高頻下以地為基準(參見圖103),并能滿足BF型應用部分要求。當以下述方法試驗時,從中性電極經一個200Ω無感電阻流向地的高頻漏電流不應超過150mA。
圖例:
①手術電極連接器 ②中性電極連接器 ③監測器 C1不超過0.005μF
C2=C3不超過0.025μF Xc2和Xc3在工作頻率下不超過20Ω ZL在50HZ下不超過1Ω
圖103 — 在工作頻率下中性電極以地為基準的患者電路示例
(參見19.3.101 a)1)和59.105)
用下面的試驗來檢驗是否符合要求:
試驗1——依次對帶有如圖104所示的電極電纜和電極的高頻手術設備的每一個輸出進行試驗。兩電纜間隔為0.5m,置于離接地導電平面上方1m的絕緣表面上。輸出端帶200Ω負載,高頻手術設備每一個工作模式以最大輸出設定運行,測量從中性電極經200Ω無感電阻流向地的高頻漏電流。
試驗2——高頻手術設備如試驗1布置,但200Ω負載電阻接在手術電極和高頻手術設備的接地端子之間,如圖105所示,測量從中性電極流出的高頻漏電流。
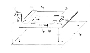
圖例:
①網電源 ②絕緣材料制作的臺板 ③高頻手術設備 ④手術電極
⑤中性電極,金屬或與同樣尺寸的金屬箔相接觸 ⑥負載電阻200Ω
⑦測試電阻200Ω ⑧高頻電流表 ⑨接地的導電平面
圖104 — 中性電極以地為基準、電極之間加載時測量高頻漏電流
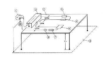
圖例:
①網電源 ②絕緣材料制作的臺板 ③高頻手術設備 ④手術電極
⑤中性電極,金屬或與金屬箔接觸的同尺寸金屬 ⑥負載電阻200Ω
⑦測試電阻200Ω ⑧高頻電流表 ⑨接地的導電平面
圖105 — 中性電極以地為基準,手術電極到地加載時測量高頻漏電流
圖例:
①手術電極連接器 ②中性電極連接器 ③監測器 C1不超過0.005μF
C2=C3不超過0.025μF Xc2和Xc3在工作頻率下不超過20Ω ZL在50HZ下不超過1Ω
圖103 — 在工作頻率下中性電極以地為基準的患者電路示例
(參見19.3.101 a)1)和59.105)
用下面的試驗來檢驗是否符合要求:
試驗1——依次對帶有如圖104所示的電極電纜和電極的高頻手術設備的每一個輸出進行試驗。兩電纜間隔為0.5m,置于離接地導電平面上方1m的絕緣表面上。輸出端帶200Ω負載,高頻手術設備每一個工作模式以最大輸出設定運行,測量從中性電極經200Ω無感電阻流向地的高頻漏電流。
試驗2——高頻手術設備如試驗1布置,但200Ω負載電阻接在手術電極和高頻手術設備的接地端子之間,如圖105所示,測量從中性電極流出的高頻漏電流。
圖例:
①網電源 ②絕緣材料制作的臺板 ③高頻手術設備 ④手術電極
⑤中性電極,金屬或與同樣尺寸的金屬箔相接觸 ⑥負載電阻200Ω
⑦測試電阻200Ω ⑧高頻電流表 ⑨接地的導電平面
圖104 — 中性電極以地為基準、電極之間加載時測量高頻漏電流
圖例:

①網電源 ②絕緣材料制作的臺板 ③高頻手術設備 ④手術電極
⑤中性電極,金屬或與金屬箔接觸的同尺寸金屬 ⑥負載電阻200Ω
⑦測試電阻200Ω ⑧高頻電流表 ⑨接地的導電平面

圖105 — 中性電極以地為基準,手術電極到地加載時測量高頻漏電流

上一篇:等離子刀的原理
下一篇:防止熱灼傷的高頻電刀設計要求1
相關閱讀
- 國家藥監局:多家高頻電刀企業檢驗不合格2020-07-29
- 韓國進口婦科利普刀,高頻電刀全國獨家火熱招商中2017-06-19
- “十百千萬工程”推進國產醫療器械應用2015-05-14
- 高頻電刀對人體的效應2013-02-01
- 高頻電刀的兩種工作模式2013-02-01






